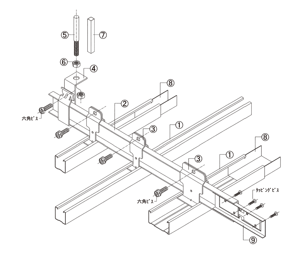
製品情報詳細Product details TOP ストロング製法ST工法 製品情報詳細 ストロング製法ST工法 構成図例 カタログ カタログ(製品カタログより抜粋) PDF Download 製品一覧へ